Návod:

[Stáhnout RAR návod]
[Verze pro tisk]
XXX - Abeceda her - vše co potřebujete pro hry
Life and Death 2: The Brain
A. Ako doktor môžete dať spraviť
MRI Scan - magnetická rezonancia
CAT scan - vyšetrenie mozgu
Skull X ray - roentgen lepky
Angiogram - vyšetrenie ciev
Prescribe treatment - nariadiť liečbu
- aspirín
- kodeín
- odporúčiť k psychiatrovi
- cvičenie končatín
- nariadiť fyzickú terapiu
- operovať na aneurizmu
- operovať nádor na mozgu
- operovať pod tvrdou plénou mozgu (subdurálny hematón)
B. Základné choroby + popis
B.a Angiogram
Je procedúra, ktorá zvýrazní farbou infekciu v obehovom
systéme pacienta a RTG ukáže neporušenosť ciev.
B.b CAT (Computer Assisted Tomography)
CTčko je špecializovaný roentgenová technika ktorá
zmapuje vnútro paciantovho tela krížom krážom. Počítač následne
vyhodnotí hustotu tkání a orgánov v tele a ukáže na obrázku. Pretože používa
jód nie je vhodný pre pacientov s alergiou na jód. V takom prípade použi
MRI.

Takto vyzerá CT mozgu v normálu. Krásna biela buchta bez ničoho.

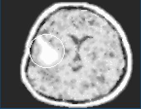
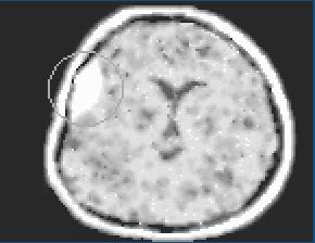
Biela šrvrna znázorňuje aneurizmu, výduť. Operácia je nevyhnutná.

Toto je obraz roztrieštenosti, alebo inak fraktúra lebky.

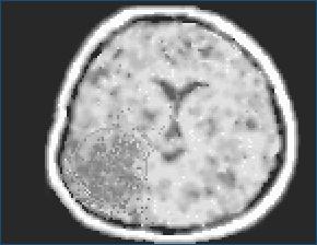
Biela výplň na kraji lepky značí subdurálny hematón, alebo krvácanie do mozgu.

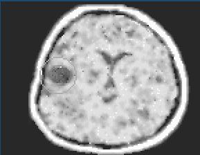
Čierna výplň lokalizovaná na okrajovej časti cerebra - to je tumor, čiže nádor.
|